Application de la membrane d’étanchéité
![]() |
Membrane de conduit d’étanchéité pour l'inverseur
Membrane de conduit d’étanchéité pour le pommeau de douche
Une membrane d’étanchéité doit être appliquée autour de deux pénétrations dans le mur et sur les brides métalliques de l' Boîtier mural et de l’unité de vidange.
![]() |
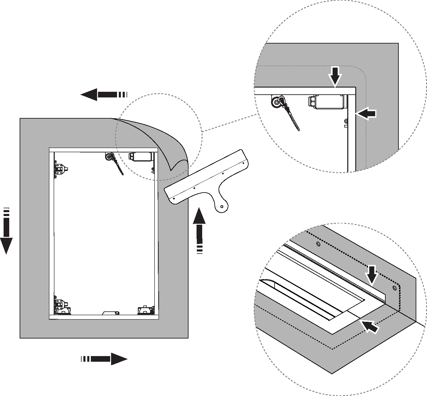
Retirez le capot de protection de l’unité de vidange.

Poncez la surface métallique de l’unité d’évacuation et du Boîtier mural et nettoyez-les à l’aide du chiffon de nettoyage fourni.
Avis
Pour obtenir un collage optimal, toutes les surfaces doivent être propres et exemptes de substances réduisant l’adhérence (p. ex. poussière, acide, graisse).

Masquez la partie laquée noire de la Boîtier mural bride avec du ruban adhésif.

Appliquez de la colle d’étanchéité sur les brides métalliques de Boîtier mural et de l’unité de vidange.

Étalez la colle d’étanchéité à l’aide d’un étaleur à colle à dents fines ou d’un pinceau.

Appliquez une membrane liquide sur les surfaces du sol et des murs que la membrane d’étanchéité de drainage et la Boîtier muralmembrane d’étanchéité vont recouvrir.

Appliquez les membranes d’étanchéité fournies autour du Boîtier mural et de l’unité d’évacuation. Exercez une pression ferme et éliminez les poches d’air à l’aide d’un outil de lissage. Assurez-vous qu’il n'y a pas de cloques ou de plis. Recouvrez le sol et le mur lors du montage de la membrane d’étanchéité de l’évacuation.

Appliquez la membrane d’étanchéité des conduits conformément au fabricant choisi pour étanchéifier les conduits du mur. Assurez-vous que les surfaces restantes sont étanches conformément au fabricant de membranes d’étanchéité choisi et aux normes industrielles applicables.


