Ajoutez le Filtre
![]() |
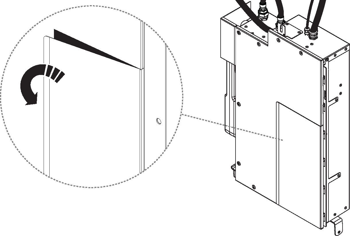
Ouvrir la trappe du filtre sur le boîtier mural Core.

Libérez le porte-filtre.

Insérez le Filtre.
Risque de fuite
Assurez-vous que le Filtre est inséré à fond, sinon des fuites peuvent se produire.

Fermez le porte-filtre et la trappe sur le boîtier mural Core.

