Installez le Boîtier mural
![]() |
Appliquez le revêtement mural conformément aux normes industrielles applicables. Percez les trous à l’aide d’un foret d’un diamètre maximal de 25 mm.

Soulevez le Boîtier mural pour le mettre en place et abaissez délicatement la sortie du caisson dans le conduit d’évacuation. Ne coupez pas et n’allongez pas le conduit.

Fixez le Boîtier mural à l’aide des vis fournies.

x8
Vis à tête cylindrique en acier inoxydable
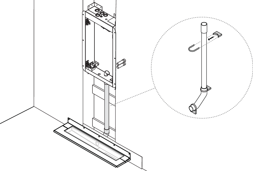
Fixez le tuyau.
2
Effectuez l’installation conformément aux règles de l’industrie Säker Vatten Installation en vigueur. Voir liste à puces 2 au chapitre Étapes importantes de l’installation.

Effectuez un contrôle d’étanchéité pour éliminer les fuites.
