Changer la capsule filtrante
Consommable nécessaire : Capsule filtrante
Capsule filtrante N° de modèle : OS C1050085A10
Utilisez uniquement Orbital Systems Filter Capsule OS C1050085A10 dans le système de douche
Pièce de rechange Référence : 1-05-0496 Capsule filtrante
Icône affichée sur l’écran du Control Dial lorsque le changement de capsule de filtre est nécessaire :
![]() |
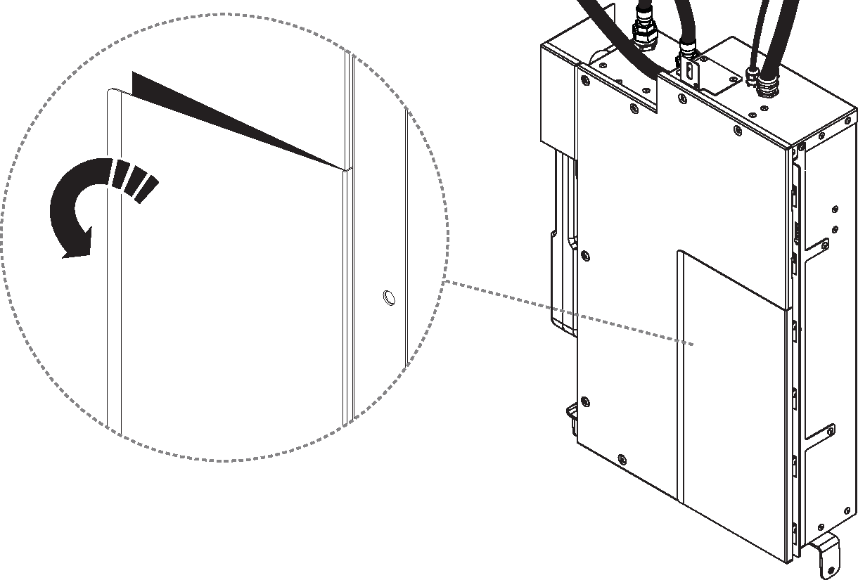
Figure 19. Accéder à la Wall Box
|
Ouvrir la trappe du filtre sur le boîtier mural Core.

Libérez le porte-filtre.

Retirez la capsule filtrante.

Insérez la nouvelle capsule filtrante et fermez la trappe.
Risque de fuite
Assurez-vous que le Filtre est inséré à fond, sinon des fuites peuvent se produire.

Fermez le porte-filtre et la trappe sur le boîtier mural Core.




