Montage du support métallique de la douchette
Figure 81. Vue d’ensemble des composants
![]() |
Couvercle douchette
Vis en acier inoxydable T25, 50 mm (5,5 mm), x2
Support de douchette
Vis de réglage M4 x 8
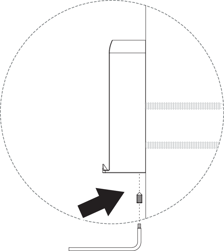
Installez le support de la douchette.
Attention
Faites attention lors du serrage des vis pour éviter de déformer le support.

x2
Vis en acier inoxydable T25, 50 mm (5,5 mm)
Enfoncez le couvercle de la douchette.

Utilisez la vis de réglage pour le verrouiller.
Avis
Utilisez la clé Torx T8 L du kit

