[en] Install Core Wall Mounting
![]() |
[en] Measure and align the placement of the Core Wall Mounting, and secure it in place.
Attention
Scellez les trous de perçage conformément aux règles de l’industrie. Voir la section Fixations d’étanchéité en zone humide pour plus d’informations.
[en] The weight of the Core is approx. 25 kg. The wall construction must be able to support this load.

[en] x7
[en] Pan head stainless steel screw
[en] Use mixer brackets to anchor the conduits.
Avis
[en] Wall conduits for incoming water and electricity are supplied by the customer.


[en] Anchor the piping for the Control Dial with the conduit end cap.
Figure 123. [en] Only valid for Orbital Audio or Ethernet installation[en] Anchor the pipe going to the Audio fixture and the pipe containing the ethernet cable if applicable.
![[en] Only valid for Orbital Audio or Ethernet installation](image/uuid-78e3bc92-6028-e3a6-8ac3-216e4a76474c.png)

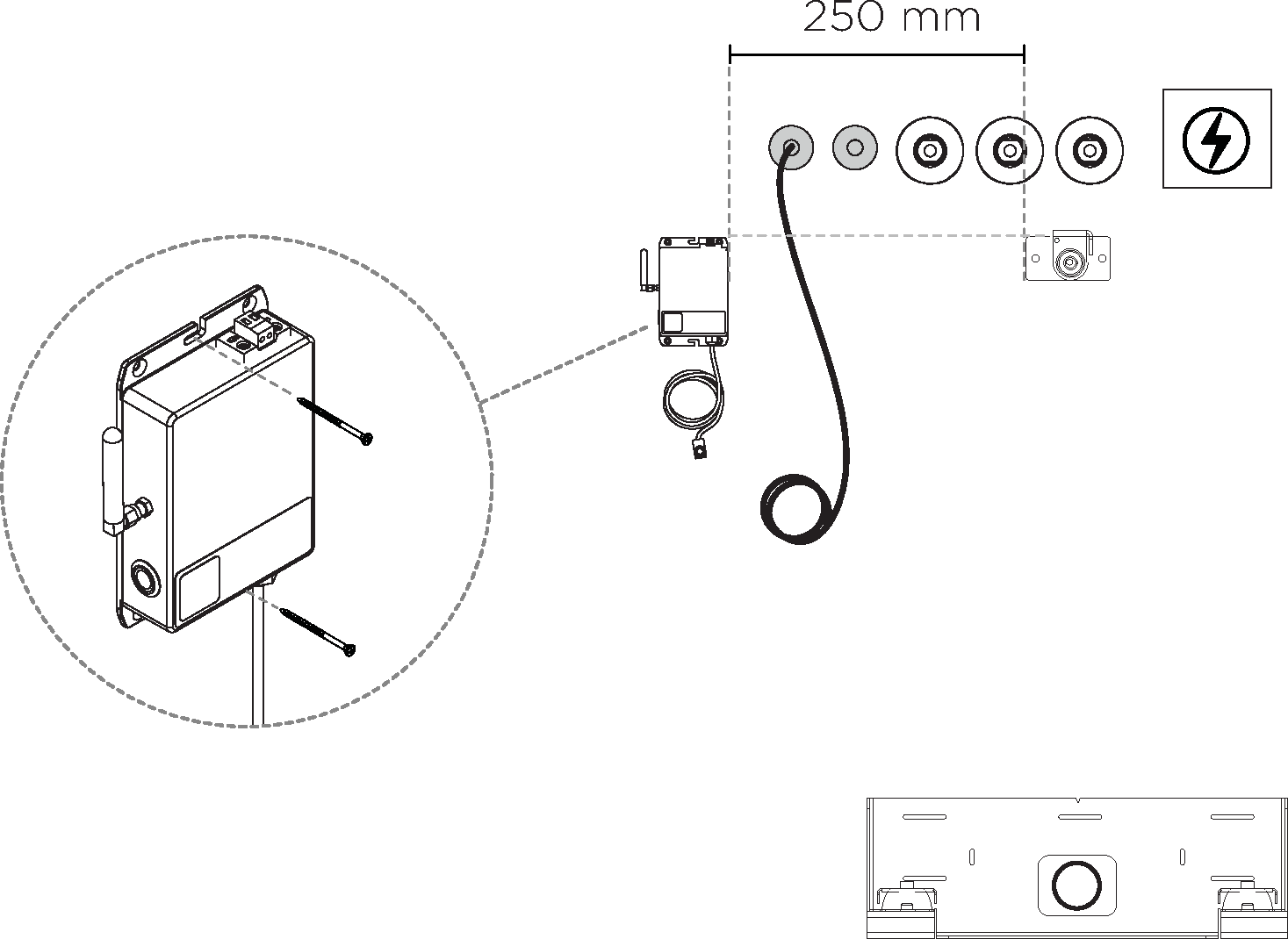
[en] Mount the Wi-Fi antenna to the top bracket.

- Figure 124. [en] The following steps are only valid for Orbital Audio
![[en] The following steps are only valid for Orbital Audio](image/uuid-02a31865-08bd-993a-7b7c-d5b6d92253ce.png)
[en] Mount the amplifier with two screws next to the Core Wall Mounting.

[en] Cut the speaker cable, so it reaches the top of the amplifier.

[en] Strip and attach the cable to the amplifier.

Installation de la fixation terminée. L’étape suivante consiste à installer le Orbital Shower Core, la molette de réglage, le pommeau de douche et la douchette (y compris l'inverseur et le support de douchette). Voir le manuel d’installation du système pour plus de détails.
|

